I posted this over on RL, as well, but thought it might be of interest to folks here as well.
A friend of mine let me know that he's been using AI for circuit translation and having good success. I'm not good enough to determine if there is wrong information being returned, since the devil is in the details for these kinds of things, but I think this is sort of slick capability. Without further ado, here is what I've been messing around with.
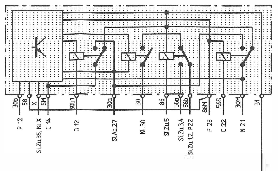
For the backup light relay:
A more complicated relay, the Light Combination relay:
I still need to make up my mind about this usefulness; being generally not on board with AI makes me sort of hate having it be actually useful.
Cheers
AI for Circuit Translation/Interpretation Help
-
Zirconocene
- Posts: 191
- Joined: Mon Apr 04, 2022 4:59 pm
- Location: PDX Adjacent
- Has thanked: 77 times
- Been thanked: 48 times
Cheers
1990 928 GT
1990 928 S4
1991 944 S2
1993 968
2002 911 C2
1990 928 GT
1990 928 S4
1991 944 S2
1993 968
2002 911 C2
- PSU_Crash
- Posts: 248
- Joined: Sun Apr 06, 2025 4:34 pm
- Location: Decatur, Tennessee
- Has thanked: 170 times
- Been thanked: 96 times
Oof ... usually AI is a little better than that. It is explaining things that don't exist. Like the thyristor across the first relay coil. I don't see that. I do see a PNP transistor symbol loosely in parallel with the coils. Term 30 is defitnitely not the main common power. Even 30a, b, c ... we can't be sure based on that. This makes my brain hurt
I need to look through it in detail later
I need to look through it in detail later
'86 Zermatt Silver 944 N/A 
'86 Mitsubishi Starion - Purpose built SM class Autocross car
'87 Chrysler Conquest - Mid LS Swap
'86 Mitsubishi Starion - Purpose built SM class Autocross car
'87 Chrysler Conquest - Mid LS Swap
-
Zirconocene
- Posts: 191
- Joined: Mon Apr 04, 2022 4:59 pm
- Location: PDX Adjacent
- Has thanked: 77 times
- Been thanked: 48 times
With no sarcasm whatsoever, I would love someone that actually understands EE dissect what came out of the AI about those circuits. And because I think that AI for these kinds of things is a bunch of hoopla (but confident sounding hoopla), I would love some further validation that it is unreliable here, it really warms the cockles of my AI-bubble-fearing heart.
Cheers
Cheers
Cheers
1990 928 GT
1990 928 S4
1991 944 S2
1993 968
2002 911 C2
1990 928 GT
1990 928 S4
1991 944 S2
1993 968
2002 911 C2
- Tom
- Site Admin
- Posts: 8575
- Joined: Fri Jun 25, 2021 2:04 pm
- Location: Silicon Valley, CA
- Has thanked: 891 times
- Been thanked: 3854 times
- Contact:
I've been looking closely at GPT5.1 the last few weeks. It can be super helpful and super frustrating. It's actually written code that's currently running on Carpokes, and is great for brute force crunching. On the other hand, it's been insistent but dead wrong on a number of technical questions. For example, thanks to Johnb and his posts here and on GitHub, it is now much much more knowledgable about DME programming. (Pretty hopeless before those posts.). I've also learned you can prompt it to behave more like you want -- e.g.., don't guess or surmise -- if you don't know for sure, just say that... Not sure if anything will come of it, but I'm working on bootstrapping an AI model to help carpokes a bit. 
Prompting is a huge part of it indeed. We even call it "prompt engineering". But another thing that people overlook is that what everyone is calling "AI" these days are LLMs - large language models. All these things really do is try to predict the word that should come next. It doesn't even really "know" that you're asking a question - it just spits out words that end up corresponding to an answer because those are the words that it thinks statistically should come next.Tom wrote: Tue Dec 02, 2025 9:12 pm I've been looking closely at GPT5.1 the last few weeks. It can be super helpful and super frustrating. It's actually written code that's currently running on Carpokes, and is great for brute force crunching. On the other hand, it's been insistent but dead wrong on a number of technical questions. For example, thanks to Johnb and his posts here and on GitHub, it is now much much more knowledgable about DME programming. (Pretty hopeless before those posts.). I've also learned you can prompt it to behave more like you want -- e.g.., don't guess or surmise -- if you don't know for sure, just say that... Not sure if anything will come of it, but I'm working on bootstrapping an AI model to help carpokes a bit.![]()
What that means is that it has zero ability to understand or process images. When you ask it questions about an image, it has to try to convert the image into "tokens" (I said words before but they are really fractions of words called tokens). This translation process isn't very accurate because it's just guessing. If there's any way you can convert the image into something formal involving words, you should get far better results that way. For instance if you can express a circuit design in a SPICE netlist it will probably give you very good answers.
- PSU_Crash
- Posts: 248
- Joined: Sun Apr 06, 2025 4:34 pm
- Location: Decatur, Tennessee
- Has thanked: 170 times
- Been thanked: 96 times
I am an EE. I use AI once in a while to help with tedious tasks or to give base code for an operation. The problem is that it will be confidently wrong. You have to know what to expect and be able to make sense of it, or else you will go down a bad rabbit hole, quickly.Zirconocene wrote: Tue Dec 02, 2025 4:22 pm With no sarcasm whatsoever, I would love someone that actually understands EE dissect what came out of the AI about those circuits. And because I think that AI for these kinds of things is a bunch of hoopla (but confident sounding hoopla), I would love some further validation that it is unreliable here, it really warms the cockles of my AI-bubble-fearing heart.
Cheers
YES! That would definitely give you a better answer since it doesn't have to translate the picture to symbols first. I'll have to give that a try.johnb wrote: Wed Dec 03, 2025 5:35 am For instance if you can express a circuit design in a SPICE netlist it will probably give you very good answers.
'86 Zermatt Silver 944 N/A 
'86 Mitsubishi Starion - Purpose built SM class Autocross car
'87 Chrysler Conquest - Mid LS Swap
'86 Mitsubishi Starion - Purpose built SM class Autocross car
'87 Chrysler Conquest - Mid LS Swap
-
cda951
- Posts: 171
- Joined: Sun Jul 04, 2021 8:55 pm
- Location: Santa Barbara, CA
- Has thanked: 135 times
- Been thanked: 70 times
"Confidently wrong"---that is a great way to explain it! The problem with using a LLM as a search engine is the answer it stitches together from scraping much of the web often sounds quite convincing and lucid. And that answer is often flat-out wrong! One has to have at least cursory knowledge of the subject at hand to sniff out errors, therefore such blatant inaccuracies be quite dangerous to the uninitiated.PSU_Crash wrote: Wed Dec 03, 2025 11:20 am
I am an EE. I use AI once in a while to help with tedious tasks or to give base code for an operation. The problem is that it will be confidently wrong. You have to know what to expect and be able to make sense of it, or else you will go down a bad rabbit hole, quickly.
I rarely use ChatGPT et al, but I make a point of continually reading articles in various publications about its capabilities and keep tabs on discussions about its pros and cons on the various auto technician forums to which I subscribe. "Prompt engineer" is another great phrase, as the bots can produce some great information if prompted well. I have seen numerous examples of people pushing back and being outright rude to the machine to get the answers they need. Which is all quite silly!
I was recently discussing such things with an engineer friend, and he and I agreed that one of the biggest fallacies committed by many users of LLMs is treating it as a sort of enhanced search engine, a substitute for Google, especially for technical advice such as medical or automotive information. This is not currently its greatest strength. What the current crop of LLMs seem to be quite good at is being a sophisticated digital assistant to help with rote tasks such as basic coding, accounting, note-taking, helping to write emails and papers (as a writer, the latter part irks me, but it can write better than many humans, so be it), etc . . .
Since this is the 928 forum, here's a gratuitous pic of what might be the only 928 still worked on by my shop (we used to work on many of them), a very clean '94 GTS automatic. I've done a lot of work on it in the last 6-7 years to get it dialed in, now only comes in for routine maintenance and minor repairs.
- Add Pictures/Files
-
- IMG_1793 2.jpeg (3.12 MiB) Viewed 1406 times
Last edited by cda951 on Thu Dec 04, 2025 10:22 pm, edited 2 times in total.
Chris A.
---'86 944 Turbo track rat
---'90 944S2 Cab daily/touring car
---'73 BMW 2002tii road rally car
---'81 Alfa Romeo GTV6 GT car/Copart special
---'99 BMW Z3 Coupe daily driver/dog car
---'74 Jensen-Healey roadster
---other stuff
---'86 944 Turbo track rat
---'90 944S2 Cab daily/touring car
---'73 BMW 2002tii road rally car
---'81 Alfa Romeo GTV6 GT car/Copart special
---'99 BMW Z3 Coupe daily driver/dog car
---'74 Jensen-Healey roadster
---other stuff
- blueline
- Moderator
- Posts: 6020
- Joined: Mon Sep 26, 2022 12:22 pm
- Location: Middle Tennessee
- Has thanked: 4371 times
- Been thanked: 2380 times
Solid advice.
However, I've also found that following a few valid-looking urls of recognizable sites attached to the slickly written and authoritative-sounding AI answers is a decent way to verify and gain clarity regarding the AI summations. For instance, if a link in the response is to a Porsche.com or media.Porsche.com site, then I can click that link and get straight to the source. (I did that with Porsche's newly coined "(x)HEV" on their recent quarterly report. It was a head-scratcher that Perplexity Pro solved with a correct and clear response in a couple of seconds. Even though it was obviously the correct answer, I was able to click on the Porsche link for direct and immediate confirmation.) Those kinds of LLM searches are extremely helpful and huge time savers. It generally speeds up the process while weeding out the advertising and paid rankings of traditional search.
Also, using a LLM as a search engine is a good shortcut for many mundane things such as "how/where do I contact xyz company for this specific need" or where one can find the setting to disable some new irritating bit added to a program or some hidden setting. Things like that are super helpful, especially considering that answers to many of those kinds of questions are no longer as readily available or quickly found on traditional search engines.
The following question I posed to Perplexity was a minor irritant borne out of my crappy typing skills and errant fingers that had been bugging me seemingly forever, one that I found inexplicable but not important enough to waste time sifting through fruitless Google type search responses:
For the word "thanks", why does Gmail spell check know to correct "thnak" and "thnaks" and, using cap letters, identify "Thnak" but does not correct "Thnaks"?
Perplexity answered immediately to my great mental relief that allowed the world to resume its 24-hour rotation.

However, I've also found that following a few valid-looking urls of recognizable sites attached to the slickly written and authoritative-sounding AI answers is a decent way to verify and gain clarity regarding the AI summations. For instance, if a link in the response is to a Porsche.com or media.Porsche.com site, then I can click that link and get straight to the source. (I did that with Porsche's newly coined "(x)HEV" on their recent quarterly report. It was a head-scratcher that Perplexity Pro solved with a correct and clear response in a couple of seconds. Even though it was obviously the correct answer, I was able to click on the Porsche link for direct and immediate confirmation.) Those kinds of LLM searches are extremely helpful and huge time savers. It generally speeds up the process while weeding out the advertising and paid rankings of traditional search.
Also, using a LLM as a search engine is a good shortcut for many mundane things such as "how/where do I contact xyz company for this specific need" or where one can find the setting to disable some new irritating bit added to a program or some hidden setting. Things like that are super helpful, especially considering that answers to many of those kinds of questions are no longer as readily available or quickly found on traditional search engines.
The following question I posed to Perplexity was a minor irritant borne out of my crappy typing skills and errant fingers that had been bugging me seemingly forever, one that I found inexplicable but not important enough to waste time sifting through fruitless Google type search responses:
For the word "thanks", why does Gmail spell check know to correct "thnak" and "thnaks" and, using cap letters, identify "Thnak" but does not correct "Thnaks"?
Perplexity answered immediately to my great mental relief that allowed the world to resume its 24-hour rotation.
Tim
Current:
'26 911 Carrera S - PTS Verde British Racing Green
'24 Cayenne S - Algarve Blue Metallic
'21 718 Cayman GTS - Black
'22 911 Turbo S - Carmine Red
'21 718 Cayman GT4 - White
'11 GMC 1500 Quad Cab 4x4 - Black
Musik-Stadt Region
Current:
'26 911 Carrera S - PTS Verde British Racing Green
'24 Cayenne S - Algarve Blue Metallic
'21 718 Cayman GTS - Black
'22 911 Turbo S - Carmine Red
'21 718 Cayman GT4 - White
'11 GMC 1500 Quad Cab 4x4 - Black
Musik-Stadt Region
-
cda951
- Posts: 171
- Joined: Sun Jul 04, 2021 8:55 pm
- Location: Santa Barbara, CA
- Has thanked: 135 times
- Been thanked: 70 times
Thanks for the helpful reply. I edited the original post to mention that using these tools specifically for technical advice such as medical or automotive information can be risky.blueline wrote: Thu Dec 04, 2025 9:32 pm Solid advice.
However, I've also found that following a few valid-looking urls of recognizable sites attached to the slickly written and authoritative-sounding AI answers is a decent way to verify and gain clarity regarding the AI summations. For instance, if a link in the response is to a Porsche.com or media.Porsche.com site, then I can click that link and get straight to the source. (I did that with Porsche's newly coined "(x)HEV" on their recent quarterly report. It was a head-scratcher that Perplexity Pro solved with a correct and clear response in a couple of seconds. Even though it was obviously the correct answer, I was able to click on the Porsche link for direct and immediate confirmation.) Those kinds of LLM searches are extremely helpful and huge time savers. It generally speeds up the process while weeding out the advertising and paid rankings of traditional search.
Also, using a LLM as a search engine is a good shortcut for many mundane things such as "how/where do I contact xyz company for this specific need" or where one can find the setting to disable some new irritating bit added to a program or some hidden setting. Things like that are super helpful, especially considering that answers to many of those kinds of questions are no longer as readily available or quickly found on traditional search engines.
The following question I posed to Perplexity was a minor irritant borne out of my crappy typing skills and errant fingers that had been bugging me seemingly forever, one that I found inexplicable but not important enough to waste time sifting through fruitless Google type search responses:
For the word "thanks", why does Gmail spell check know to correct "thnak" and "thnaks" and, using cap letters, identify "Thnak" but does not correct "Thnaks"?
Perplexity answered immediately to my great mental relief that allowed the world to resume its 24-hour rotation.![]()
![]()
The "AI"/LLM world is moving so fast that it will probably soon fill the gap and become a more reliable source for "search engine" functions without the traditional Google rankings as you mention.
We are all attempting to wrap our heads around this thing, but even if and when they become more reliable: trust, but verify.
Chris A.
---'86 944 Turbo track rat
---'90 944S2 Cab daily/touring car
---'73 BMW 2002tii road rally car
---'81 Alfa Romeo GTV6 GT car/Copart special
---'99 BMW Z3 Coupe daily driver/dog car
---'74 Jensen-Healey roadster
---other stuff
---'86 944 Turbo track rat
---'90 944S2 Cab daily/touring car
---'73 BMW 2002tii road rally car
---'81 Alfa Romeo GTV6 GT car/Copart special
---'99 BMW Z3 Coupe daily driver/dog car
---'74 Jensen-Healey roadster
---other stuff
Normally I'm on the 944 forums but have been using ChatGPT for a few things related to some Carpokes projects.Zirconocene wrote: Tue Dec 02, 2025 11:20 am I posted this over on RL, as well, but thought it might be of interest to folks here as well.
A friend of mine let me know that he's been using AI for circuit translation and having good success. I'm not good enough to determine if there is wrong information being returned, since the devil is in the details for these kinds of things, but I think this is sort of slick capability. Without further ado, here is what I've been messing around with.
I also tried a recent set of open source AI code developed at/with Nvidia for extracting SPICE netlists from pictures, but was never able to get past some out of memory failures on the only GPU I have around.
https://github.com/NYCU-AI-EDA/Netlistify
I just captured the analog part of the 951 DME by hand in LTSpice. Not too difficult and it mostly simulates correctly. I did also upload some pictures of the DME analog circuits to ChatGPT with similar queries/results like the 1st post. Sort of accurate and helped somewhat.
ChatGPT has been helpful in snippets - I created a XDF parser that can be used with TunerPro for our 951 DME EPROMS so that additional/secret maps can be added easier than typing in XML-like code. I gave ChatGPT a full XDF file and told it to create a Python parser. It took a few iterations until I had what I wanted, but way faster than starting from scratch.
It was also helpful in fixing my coding errors faster than I can do trial and error fixes.
My current project is making a 951 Motronic DME simulator with Verilog code. I pulled a lot of the code for the 8051 CPU from an opencores project, but ChatGPT has been helpful in creating some utilities and additional Verilog to simulate behavior outside of the 8051 CPU.
One thing that blew me away was that I was trying to port some additional verilog plug in code written in C for Linux to my Mac. I just loaded the compiler & linker error messages to ChatGPT and it figured out I had a version mismatch and just kept iterating through the errors making new suggestions until it worked. Google searches are just fruitless for figuring that stuff out.
You do have to stop ChatGPT sometimes when it goes too far as it will also keep asking if you want it to do more and more, but sometimes it will forget some of the previous requirements and just drop them and flat out remove code that was important. But it does pretty well when you tell it to fix something it's done wrong.
So it's a big plus as an assistant for amateur s/w development
1986 951 - Silicon Valley
